Skip to main content
Industrial Research And Consultancy Centre
Patent
Gap-Varying, Lifted Hele-Shaw Cell (LHSC) for Controlled Liquid Film Flow and Devices Containing the Same
Abstract

The invention provides a lifted Hele-Shaw cell (LHSC) system featuring various radially-varying gaps. In case of sphere-on-flat LHSC, gap is formed between a spherical cap and a flat substrate. This unique configuration enables the formation and retraction of symmetric, centered liquid films with enhanced repeatability and minimal instability. The device allows for controlled bidirectional fluid movement and is compatible with both hand-actuated and motorized modes. A modular membrane filtration unit integrated into the LHSC supports high-yield separation of particulates or biological components such as plasma from blood. The system is designed for versatile applications including microfiltration, patterning, and diagnostic sample processing.

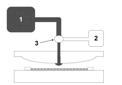
Figure (1) 1: Movable top plate with non-axisymmetric gap profile, 2: Bottom stationary plate, 3: Position of minimum gap, 4: Liquid film retracting; (2) A: Suspension drop placement, B: Film squeezing stroke, C: Plate separation stroke, D: Bridge break, E: Liquid collection by micropipette (B-C-D cycle is repeated until channel fills adequately); (3) 1: Blood reservoir, 2: Flushing liquid reservoir, 3: Input control valve.

Problem Statement

Conventional lifted Hele-Shaw cells (LHSCs), which use parallel plates, often fail to produce stable, centered, and repeatable liquid films due to geometrical asymmetry, fingering instabilities, and sensitivity to operational variables. These limitations hinder their application in processes such as controlled film retraction, patterning, and membrane-based filtration—particularly in the presence of suspensions or biological fluids. Additionally, existing filtration systems struggle with membrane clogging, low throughput, and inability to operate in resource-limited or field settings. Therefore, a reliable, geometry-driven LHSC platform is needed to enable symmetric, instability-free film flow, integrated microfiltration, and adaptability to both lab and handheld operation modes.

Uniqueness of the Solution
  • Gap-Varying LHSC Geometry: The LHSC employs a spherical cap placed over a flat substrate to create a radially increasing, non-parallel gap that enables symmetric and centered film formation during lifting. 
  • Instability Suppression and Repeatability: The configuration minimizes fingering and asymmetry during both squeezing and retraction, ensuring repeatable liquid film dynamics even at high separation speeds. 
  • Anisotropic Surface Modifications: The pits, lands, grooves, and wettability gradients are introduced to the cell surfaces to guide fluid motion, control interface behavior, and support patterned liquid island formation. 
  • Modular Filtration Architecture: A raised central disc with an embedded filter membrane creates a wedge-shaped sub-membrane space, facilitating uniform radial flow and efficient filtration with high recovery rates. 
  • Manual and Motorized Operation Modes: The LHSC system is compatible with hand- operated bellow mechanisms as well as programmable motorized control, making it adaptable for both laboratory and field-based applications.
Prototype Details

The prototype comprises a spherical-on-flat (SOF) lifted Hele-Shaw cell where a transparent spherical cap is positioned above a flat substrate to form a radially increasing gap. The assembly includes a modular filtration unit, in which a membrane is mounted over a raised disc that creates a wedge-shaped sub-membrane region. This configuration facilitates uniform radial flow and high-efficiency filtration. The device supports both manual operations using a bellow mechanism and automated control via a motorized lifting system. Prototypes have been fabricated using polymeric materials such as PMMA, with integrated microchannels and wettability-engineered surfaces. Experimental validation has been performed using aqueous suspensions and blood samples, demonstrating repeatable film formation, controlled fluid retraction, and effective plasma separation.

Current Status of Technology

The LHSC system with gap-varying spherical geometry has been prototyped and experimentally validated in laboratory settings. Functional devices have demonstrated stable film retraction, repeatable bidirectional flow, and efficient microfiltration using both synthetic suspensions and biological fluids, including blood. Both hand-operated and motorized configurations have been tested. The prototypes have been fabricated using polymeric components with surface modifications, confirming applicability for plasma extraction and particle separation. The technology is currently at a mid-development stage and is suitable for further optimization and pilot-scale deployment.

Technology readiness level

4

Societal Impact

The invention enables low-cost, portable, and power-free fluid handling and microfiltration, making it especially beneficial for diagnostic and sample preparation needs in resource-limited and field settings. By offering clog-free filtration of biological samples such as blood and suspensions without requiring external pumps or infrastructure, the technology addresses challenges in decentralized healthcare, environmental monitoring, and rapid field testing. Its ability to extract plasma and separate particulates efficiently supports improved access to point-of-care diagnostics and decentralized laboratory workflows.

Relevant Industries, Domains and Applications
  • Biomedical diagnostics (POC testing, plasma extraction): Device enables efficient separation of plasma from whole blood without pumps, making it ideal for point-of-care diagnostic applications.
  • Environmental microfiltration (dense suspensions): System can filter particulate-laden fluids such as environmental samples using radial flow and membrane-based separation. 
  • Microfluidic R&D and lab-on-chip prototyping: LHSC setup supports fluid manipulation, interface control, and film retraction, useful for developing microfluidic and lab-on-chip platforms.
  • Fluid dynamics and instability research: Geometry-controlled design allows investigation of viscous fingering, retraction dynamics, and interface instabilities under tunable conditions. 
  • Blood filtration for field diagnostics: Hand-operated version enables on-site filtration of blood samples, offering a portable solution for decentralized health screening.
  • Polymer and membrane-based device fabrication: Prototypes utilize polymer substrates and integrated membranes, supporting scalable and low-cost fabrication of diagnostic devices.

Geography of IP

Type of IP

Application Number

202321016073

Filing Date
Grant Number

546249

Grant Date
Assignee(s)
Indian Institute of Technology Bombay
Achira Labs Private Limited
**This IP is jointly owned**